Tuesday, April 14, 2026

This is how a potential Galaxy Z TriFold Large would possibly look


Lanh Nguyen / Android Authority

TL;DR

  • A patent software from Samsung accommodates illustrations of what seems like a wider Galaxy Z TriFold.
  • These pictures don’t essentially imply that such a tool is in growth.

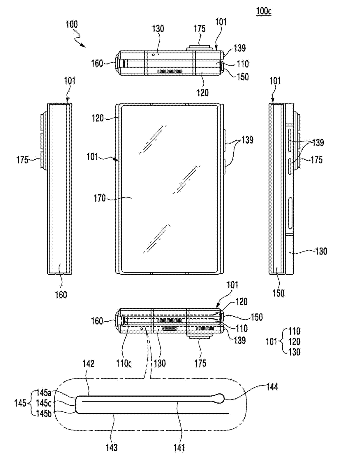
Samsung’s wildly costly Galaxy Z TriFold is in restricted provide, with US gross sales solely open in particular person at a handful of Samsung shops across the nation. That cellphone is already fairly novel, with its triple-folding design — and a lately surfaced US patent software exhibits that Samsung might have entertained an identical design with even bigger shows.

IT agency NetworkRight highlighted the patent software in a weblog publish. The software, filed final yr and revealed in March, is for a “multi-foldable digital system” — the Galaxy Z TriFold — and in addition consists of imagery exhibiting a triple-folding smartphone with a a lot wider show.

Don’t wish to miss one of the best from Android Authority?

google preferred source badge light@2xgoogle preferred source badge dark@2x

A few illustrations within the patent software depict a model of the Galaxy Z TriFold with a squarer facet ratio for its cowl show, with a form extra paying homage to a pill than a contemporary smartphone.

Within the context of the patent software, these pictures aren’t explicitly meant to depict a separate system (they’re combined in with pictures exhibiting a triple-folding cellphone extra just like the present Z TriFold). Even when it had been an entirely separate, patented design, patents don’t assure an thought will make it to manufacturing. Nonetheless, it’s an fascinating growth.

Leaked information signifies Samsung is engaged on a model of its Galaxy Z Fold 8 with dimensions extra just like a typical guide: proportionally wider than the Z Fold 7 when closed, and extra-wide when open. Given we’re pretty positive this “Large Fold” will materialize this yr, it’s not out of the query that Samsung might have thought of a fair wider TriFold design. Given the present mannequin’s contentious $2,900 price ticket, although, much more display in an identical cellphone may not be a sensible prospect.

Thanks for being a part of our group. Learn our Remark Coverage earlier than posting.

Related Articles

Latest Articles